
咨詢熱線0755-26993877
高壓打氣筒單向閥,顧名思義,是一種能夠在高壓下工作的單向閥。它的核心功能是確保氣體的順利流動,同時防止氣體回流。這不僅為自行車輪胎提供了源源不斷的氣體支持,還保證了騎行的舒適性和安全性。

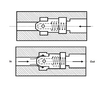
超高壓單向閥的工作原理主要基于流體力學原理。當流體從入口進入閥門時,流體壓力作用于閥芯,克服彈簧的預緊力,推動閥芯移動,從而打開閥門,使流體流向出口。而當流體反向流動時,流體壓力不足以克服彈簧預緊力,...

高壓管式單向閥被廣泛應用于各種領域。在液壓系統中,它可以用于控制油流的流動方向,防止油壓的反向流動。在化工行業中,它可以用于防止化學物質的反向流動,保護設備和環境的安全。在建筑行業中,它可以用于給排水...

管式直角單向閥是一種常見的流體控制元件,它可以在流體流向單一方向時打開,阻止反向流動。其主要特點包括結構簡單、易于安裝、流通能力大、壓力損失小等。此外,管式直角單向閥還具有高可靠性、長壽命和低維護成本...

在機械和工程領域,管式單向閥是一種重要的控制元件,它的作用是確保流體在管道中只能按照一個方向流動,而不能反向流動。這種閥門的廣泛應用,從供水管網到工業設備,都為其獨特的單向流動特性所吸引。

在液壓系統中,管式液控單向閥扮演著至關重要的角色。它是一種能夠控制液體流向的特殊閥門,只有在特定條件下才會允許液體流向指定的方向。這種閥門的存在,使得的液壓系統能夠更加穩定、可靠地運行。

塑料單向閥的工作原理可以用一個簡單的實驗來演示。如果你把一個塑料瓶倒過來,然后往瓶子里加水,你會發現水并不能倒出來。這就是因為塑料單向閥在起作用,阻止了水流的反向流動。當你把瓶子正過來時,水就可以順利...

微型塑料單向閥是一種獨特的閥門,其主要特點是具有單向導通功能。這種閥門在工程、醫學、生物等領域具有廣泛的應用前景。由于其體積小、重量輕、耐腐蝕、易加工等優點,微型塑料單向閥已經成為精密工程中的重要組成...

醫用塑料單向閥的應用范圍廣泛,涵蓋了醫院、診所、實驗室等各類醫療場所。在這些場所中,單向閥的主要作用是防止液體或氣體逆流,從而保護醫生和病人免受交叉感染的風險。此外,醫用塑料單向閥還具有耐高溫、耐腐蝕...

小型塑料單向閥是一種由塑料材質制成的閥門,通常用于控制流體的單向流動。它具有體積小、重量輕、易于安裝等優點,因此被廣泛應用于各種流體系統中。這種閥門的主要功能是防止流體反向流動,從而確保系統中的壓力和...
